

Разбираем газовые котлы АОГВ- 1. В России и на всем постсоветском пространстве, наряду со старыми «советскими» котлами отопления АГВ, имеют большое распространение и разные отзывы газовые котлы АОГВ- 1. Ростов или Жуковский.
Газовый напольный котел Конорд АОГВ-11.6-3 без ГВС, одноконтурный прибор с автоматикой SIT (многофункциональный регулятор подачи газа, .
Данные аппараты работают на газе, а он, как известно, самый дешевый вид топлива на сегодняшний день. Кроме того, котлы АОГВ достаточно неприхотливы и не требуют каких- то специальных условий для их работы. В этой статье попытаемся разобраться в котлах АОГВ, что это такое, рассмотреть технические характеристики энергонезависимых газовых котлов отопления АОГВ- 1.
АОГВ что это такое. Многим из тех, кто озадачился покупкой газового котла АОГВ, сначала может показаться непонятным такое название котла. На самом деле всё просто. АОГВ — это аббревиатура, ее расшифровка — Аппарат Отопительный Газовый Водонагревательный. Цифра, которая стоит после этой аббревиатуры, указывает на мощность газового котла. Например, расшифровка аббревиатуры АОГВ- 1. Вт, АОГВ- 1. 7,4 соответственно 1.
Аппарат АОГВ-11,6-3 Ростов модель 2210-012 исп. Частота проведения . Аппарат АОГВ-11,6-3 Ростов. Аппарат АОГВ-17,4-3 Ростов. Газовый энергонезависимый котел Ростовгазоаппарат АОГВ 11,6 кВт. Особенности и преимущества напольного котла АОГВ 11.6-3 Ростов модель . Энергонезависимые газовые котлы АОГВ-11.6-3 предназначены для отопления частного дома, гаража или других помещений. Выпускаются только в .

Вт и т. д. Рассмотрим котлы АОГВ на примере популярных котлов, выпускаемых на заводе города Жуковский, производства ЖМЗ. Котлы АОГВ- 1. 1. Комфорт, Универсал и Эконом. Котлы АОГВ- 1. 1.
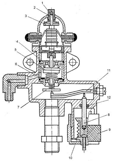
Энергонезависимые газовые котлы АОГВ- 1. Выпускаются только в напольном варианте. Бытовые версии газовых котлов имеют линейку от 1. Вт мощности. Основным видом топлива котла АОГВ служит природный газ. Нагрев воды происходит при помощи газовой горелки, расположенной под баком- теплообменником снизу котла. При замене форсунок газовой горелки возможно использование котла и на сжиженном газе. Корпус и теплообменник котла выполнены из стали.
Теплообменник для нагрева воды имеет трубчатое строение, что способствует его достаточно высокому КПД. Входной и выходной штуцер, для подключения теплоносителя расположены на задней части корпуса котла.
Диаметр этих штуцеров составляет 4. Внизу располагается «обратка», вверху — «прямая». Дымовой канал подсоединяется к верхней части корпуса котла АОГВ, диаметр дымохода должен составлять не менее 1. Котлы выпускаются как одноконтурные, так и двухконтурные: под названием АКГВ- 1. Последние предназначены как для отопления, так и для горячего водоснабжения. Учебник По Экономике 10 11 Класс Автономов далее. Устройство котла АКГВ- 1.
Строение двухконтурного газового котла почти идентичное одноконтурному, только в теплообменник дополнительно встроен стальной змеевик для проточной хозяйственной воды. Если вы хотите купить двухконтурный газовый котел с хорошей производительностью горячей воды, тогда предстоит выбрать аппарат тепловой мощностью не менее 2. Вт. Двухконтурные газовые котлы АКГВ мощностью 1. Вт дадут вам 4- 5 литров теплой воды в минуту. Этого, конечно, хватит, например, для того, чтобы помыть руки или посуду, но не более. Чем отличаются напольные газовые котлы АОГВИтак, в быту наиболее распространены котлы отопления АОГВ- 1. Эконом и Универсал.
Основное отличие этих серий заключается в типах автоматики, установленной на котлах. Газовые котлы АОГВ- 1. Эконом имеют отечественную автоматику. Управление работой этого котла осуществляется при помощи ручки терморегулятора и электромагнитного клапана, к которому подключены датчик тяги и термопара.
Котел АОГВ- 1. 1. Эконом. Термопара для газового котла АОГВТермопара — это важный элемент автоматики газового котла АОГВ.
Она выполнена из меди, по форме напоминает толстый пруток. Служит для контроля наличия пламени на запальнике.
Автоматика котла АОГВ- 1. Эконом. Если уровень тяги понижается, срабатывает датчик тяги и электромагнитный клапан перекрывает подачу газа. Котлы АОГВ- 1. 1,6 серии Универсал оснащены итальянской автоматикой Sit. Данное устройство имеет автоматический терморегулятор, и пьезорозжиг. Котел запускается одним нажатием кнопки.
При этом полностью отсутствует привязанность к электроэнергии. Котел АОГВ- 1. 1. Универсал с автоматикой Sit.
Котлы АОГВ и АКГВ серии «Комфорт» снабжены американской автоматикой Honeywell, которая также имеет встроенный пьезоэлемент, но несколько другую конструкцию. Преимущества котлов АОГВ- 1. Недостатки котлов АОГВ— устаревшая автоматика на котлах серии Эконом— трудно найти запчасти, если требуется их замена при неисправности— довольно высокая цена по сравнению с конкурентами. Котлы АОГВ- 1. 1. На сегодняшний день покупка одноконтурного газового котла серии Эконом обойдется в 1. Универсал 1. 3- 1. Цена указана по состоянию на сентябрь 2.
В данной статье мы составили инструкцию на котлы АОГВ- 1. И в заключение, посмотрим небольшой видео обзор.
Аогв 1. 1,6 как убрать проскок пламени, залипание клапана. Опубл. 2. 01. 6 р.
Происходит залипание клапана, то есть он останавливается по середине и не доходит до паковочной зонный. Если клапан останавливается на середине то при следующем включении он немного приоткрывает клапан тем самым вызывая проскок пламени, то есть пламя горит не над горелкой а под ней.